
Пеллетні котли з пальником факельного типу АЛЬТЕП ТРІО УНІ ПЕЛЛІТ 40 кВт (ALTEP TRIO UNI PELLET)
155 000 ₴
- Готово до відправки
- +380 (44) 333-65-96
КОТЛИ ALTEP! ВИГОДНІ ПОТУЖЕННЯ (УТТОЧНІЙТЕ)!
ПЕЛЕНІ КОТЛИ З ГОРІЛКА ФАКІЛЬНОГО ТИПА ALTEP TRIO UNI PELLET 40 кВт
Пеллетні котли тривалого горіння зі встановленим пальником факельного типу, забезпечує дозоване подавання, автозапалювання й автогашення пелети. За потреби можна легко перевести котел з автоподання в режим ручного завантаження палива.
ОСОБЛИВОСТІ КОНСТРУКЦІЇ:
У базовій комплектації експлуатація котла можлива в режимі автоматичного подавання палива.Автонномність роботи котла забезпечується датчиками, що стежать за процесом горіння в котлі, а також відповідають за безпеку роботи обладнання. Сучасні технології дають змогу керувати процесом горіння котла дистанційно — за допомогою GSM-модуля й Wi-Fi. Для переведення котла на роботу з ручним завантаженням палива необхідно встановити вентилятор і блок керування. Багатоканальна система подавання повітря забезпечує довготривале та рівномірне згоряння палива зверху вниз. таке приймання дає змогу використовувати різні типи палива, різних розмірів і фракції.
ПЕРЕВАГИ КОНСТРУКЦІЇ:
- Матеріал котла — високоякісна сталь, завтовшки 6 мм;
- Велика топочна камера;
- Автоматичне подавання палива;
- Система автоматичного розпалювання палива;
- Універсальність — можливість експлуатації котла в режимі ручного завантаження палива й автоподавання;
- Факельний пальник із функцією автоматичного очищення;
- Утеплені двері з подвійною ізоляцією — для безпечної експлуатації та мінімізації тепловтрат.
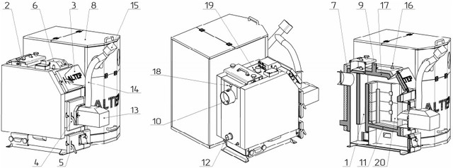
КОНСТРУКЦІЯ КОТЛА АЛЬТЕП ТРІО УНІ ПЕЛЛІТ 40 кВт:

1 - Корпус котла; 2 - Дверцята конвективної частини котла; 3 - Дверцята топки; 4 - Дверцята пальника; 5 - Дверцята поличника; 6 - Контролер; 7 - Теплоізоляція корпусу; 8 - Бункер для палива; 9 - Патрубок прямої мережевої води; 10 - Борів; 11 - Колосникова решітка; 12 - Патрубок зворотної мережевої води; 13 - Пеллетна пальник; 14 - Гофрований рукав; 15 - Шнековий пристрій подавання палива; 16 - Патрубок під запобіжний клапан; 17 - Водяна оболонка; 18 - Шибер тяги топкових газів; 19 - Гільза для датчика температури котла; 20 - Керамічні каталізатори *).
Примітка:
*) Опціонально окремо замовлення (варіант комплектації «TRIO UNI Pellet Plus».
ТЕХНІЧНІ ХАРАКТЕРИСТИКИ:
Altep Trio Uni Pellet 40
| Параметри | Ед. изм. | ALTEP TRIO UNI PELLET | |
| Номінальна потужність котла: | кВт | 40 | |
| Площа поверхні теплообміну в котлі: | м2 | 4,0 | |
| Коефіцієнт корисної дії, не менш ніж: | % | 91 | |
| Витрата палива за номінальної потужності: | кг/год | 10,6 | |
| Місткість бункера для палива *) | дм3 | 300 | |
| Водяна ємність котла: | л | 140 | |
| Маса котла без води: | кг | 630 | |
| Необхідна тяга топкових газів: | Па | 23-30 | |
| Температура топкових газів на виході з котла: | °C | 100-180 | |
| Рекомендована мінімальна температура води | °C | 58 | |
| Максимальна температура води: | °C | 85 | |
| Номінальний (максимальний робочий) тиск води | МПа | 0,15 | |
| Випробувальний тиск води, не більш ніж: | МПа | 0,30 | |
| Споживання електроенергії (230 В, 50 Гц), не більше: | в процесі експлуатації | Вт | 80 |
|
під час розпалювання |
800 | ||
![]() |
|||
|
Габаритні розміри котла Альтеп TRIO UNI PELLET 40 кВт: |
B, минимум | мм | 1300 |
| B1 | 550 | ||
| H | 1220 | ||
| H1 | 1145 | ||
| H2 | 930 | ||
| H3 | 280 | ||
| H4 | 1230 | ||
| L | 1800 | ||
| L1 | 1225 | ||
| Приєднувальні розміри борова (зовнішній діаметр) | мм | 219 | |
| Діаметр патрубків прямий і зворотний мережевий води (Ду) | мм | 50 | |
|
Рекомендовані параметри димоходу: |
Площа перерізу | см2 | 377 |
| Внутрішній діаметр | мм | 220 | |
| Висота (мінімально допустима) |
м | 5 | |
| Діаметр штуцера (патрубка) під запобіжний клапан (Ду) | мм | 15 | |
| Діаметр штуцера зливання води з котла (Ду) | 15 | ||
| Необхідна величина тиску для спрацьовування запобіжного клапана | МПа | 0,20 | |
Доставка котлів тривалого горіння Altep TRIO UNI PELLET по всієї Українці: Чорновці, Тернополь, Рівно, Харків, Житомир, Одеса, Запоріжжя, Вінниця, Львів, Луганськ, Донецьк, Житомир, Одеса, Херсон, Сумми, Кіровоград, Чернігов, Полтава, Миколаїв, Хмельницький, Київ, Івано-Франків, Днепрозор, Черкаси тощо.
| Основні | |
|---|---|
| Види твердого палива | Пелети |
| Країна виробник | Україна |
| Матеріал теплообмінника | Сталь |
| Виробник | Altep |
| Вид пального | Тверде |
| Потужність номінальна | 40 кВт |
- Ціна: 155 000 ₴








