
Піролізний твердопаливний котел з газифікацією деревини VERNER V25 (Вернер)
79 018,80 ₴
- Готово до відправки
- +380 (44) 333-65-96
АКЦІЯ НА КОТЛИ VERNER V25!!! БЕЗПЛАТНА АДРЕСНА ДОСТАВКА ПО УКРАЇНІ!
ПІРОЛІЗНИЙ КОТЕЛ ДОВКОГО ГОРЕННЯ VERNER V25
Котел Verner V25 є класичним піролітичним котлом, розробленим з урахуванням зменшення корозії стін, що трапляється під час такого різновиду горіння. Корпус виготовлений із котельних листів класу 11. Котел має товсту керамічну обшивку з мікроармуванням для забезпечення довготривалого безперервного передавання тепла. Конструкція камери горіння характеризується мінімальними розмірами за можливості завантаження дров завдовжки до півметра.
У котлі Verner вихід тепла контролюється електронним регулятором, що зчитує температуру води в котлі, температуру горіння газу (в подальшому разі температуру в приміщенні) і контрольований процес горіння, ґрунтуючись на цих показниках. Це забезпечує високу зручність експлуатації й ефективність горіння.
Піролізний газогенераторний котел на твердому паливі Verner V25 може обладнатися підвісними турбулізаторами для поліпшення ефективності. Їх використання підходить для високоякісного спалювання сухого палива.
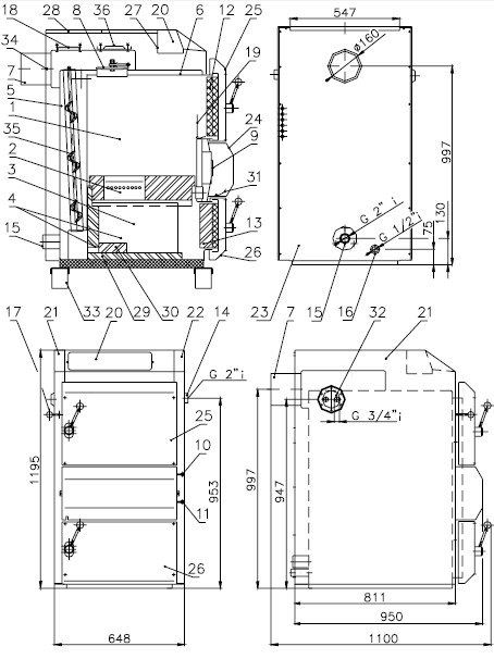
КОНСТРУКЦІЯ КОТЛА:

ТЕХНІЧНІ ХАРАКТЕРИСТИКИ:
Verner V25
|
Паливо * |
Дрова — довжина 50 см, O до 10 см, деякі шматки O до 20 см, дерев'яні брикети, дерев'яні тріски, тирси (за вологості палива до 20%) |
|
Розрахункова потужність |
25 кВ |
|
Регулювання під час безперервної роботи |
12,5 — 25 кВ |
|
ККД |
91% |
|
Середня споживаність палива (у разі розрахункової потужності) |
7,5 кг / час |
|
Період горіння за стандартної подавання палива (у разі розрахункової потужності) |
4,5 годин |
|
Обсяг стандартного паливного бункера |
125 л |
|
Діаметр горловини димоходу |
160 мм |
|
Задана робоча тяга димоходу |
15 ― 35 Па |
|
Висота котла |
1195 мм |
|
Ширина котла |
648 мм |
|
Глибина котла |
1100 мм |
|
Загальна вага |
445 кг |
|
Матеріал корпусу котла |
Котельний аркуш кл. 11 |
|
* Можливе довантаження котла дровами O 10 — 20 см, дерев'яними трісками або тирсою на вже горить основний шар. |
|
Доставка піролізних котлів тривалого горіння Verner V25 по всієї Українії: Сумми, Вінниця, Рівномір, Запорожнення, Дніпропетровс, Ніколаєв, Одеса, Полтава, Житомир, Кіровоград, Черкаси, Чернігів, Івано-Франковськ, Луганск, Львів, Чорновці, Тернополь, Донецьк, Хмельницький, Харків, Київ, Херсон тощо.
| Основні | |
|---|---|
| Виробник | Verner |
| Вид пального | Тверде |
| Види твердого палива | Дрова, Тирса, Брикети |
| Матеріал теплообмінника | Сталь |
| Тип котла | Піролізний |
- Ціна: 79 018,80 ₴



