
Котел тривалого горіння Kraft серія К 12 кВт (Крафт)
24 900 ₴
- Готово до відправки
- +380 (44) 333-65-96
АКЦІЯ НА КОТЛИ KRAFT!!! БЕЗПЛАТНА АДРЕСНА ДОСТАВКА ПО УКРАЇНО!!!ВИГОДНІ УСОВА ПОКУПКИ (УТКУЙТЕ)!!!
КОТЛИ НА ТВЕРДОМУ ТОПЛИВІ ДОВКОГО ГОРЕННЯ KRAFT СЕРІЯ E 12 кВт
Твердопаливний котел KRAFT серії E — це бюджетний котел, вироблений із високоякісної (котлової) сталі, що працює на будь-якому твердому паливі. Котел має ефективність на рівні 85% завдяки великому теплообміннику, який розташований у верхній його частині. Час роботи на одному завантаженні дров приблизно 5-6 годин. На вугіллі цей показник досягатиме 10-12 годин.Лінейка потужностей у цій серії стартує від 12 кВт і досягає 24 кВт. Цього досить для того, щоб котли Крафт Е змогли обігрівати приміщення площею від 80 до 200 м кв.
ОСОБЛИВОСТІ КОНСТРУКЦІЇ:
У базовій версії ця серія призначена для експлуатації з механічним регулятором тяги та є енергонезалежною, тобто працює без електрики. Водночас котел має можливість під'єднання електроніки. Для цього в нижній частині бічних стінок є люк для під'єднання вентилятора наддуву. Для зручності користувачів турбіну можна встановлювати як із правого, так і з лівого боку. Застосування електроніки керування дає змогу скоротити споживання палива на 10-15%. Для контролю температури теплоносія на верхній кришці є електронний термометр (працює від батарейки).Для правильного настроювання котла на виході димоходу вмонтований шибер регулювання тяги. Він має фіксатори положення.Теплообмінник розташований у верхній частині котла та має окремі двері для чищення — верхні двері котла. Колосники на яких розміщений і горить паливо, робляться з безшовних труб, які омиваються водою, як і в дорожчих серіях: S і L. Таке рішення дає змогу додатково знімати тепло в топці котла.Обслуговування котла полягає в чищенні теплообмінника та видалення золи з полотняного відсіку. Для цього до комплекту постачання входить спеціальний скребок і совок для видалення золи.Для видалення непрогорілих залишків палива (зазвичай, з коксованого вугілля), які не прокидаються через колосники, передбачені спеціальні дверцята, які відкриває доступ до простору відразу над колосниками.
ПЕРЕВАГИ КОНСТРУКЦІЇ:
- Енергонезалежність;
- ККД на рівні 85%;
- можливість встановлення електроніки керування;
- високоякісна сталь;
- водонаповнені лосники;
- невеликі габаритні розміри;
- вбудований термометр дає змогу контролювати температуру котла;
- термоізольований корпус котла унеможливлює опіку;
- заводська якість виготовлення котла гарантує його безпеку.
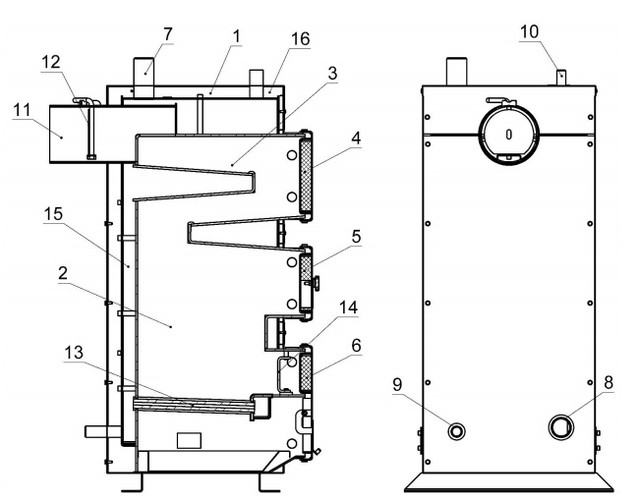
КОНСТРУКЦИЯ КОТЛА KRAFT Е 12 кВт:

1 - Корпус котла; 9 — патрубок зливу води з котла; 2 — камера згоряння (топка) 10 патрубок під групу безпеки котла; 3 — Конвекційна частина (теплообмінник) 11 — Борів; 4 - Дверцята конвекційної частини котла; 12 - Шибер тяги топкових газів; 5 - Двері завантажувальні; 13 - Колосникова решітка; 6 - Дверцята ревізійні; 14 - Відбивач; 7 - Патрубок прямої мережевої води; 15 - Водяна оболонка; 8-патрубок зворотної мережевої води; 16 - Теплоізоляція корпусу;
ТЕХНІЧНІ ХАРАКТЕРИСТИКИ:
Котел тривалого горіння Kraft серія Е 12
| Параметри | Ед. изм. | KRAFT Е12 |
| Номінальна потужність котла | кВт | 12 |
|
Орієнтовно опалювана площа |
м2 |
120
|
| Паливо | - | Дрова, антрацит, кам'яне вугілля |
| ККД, не менш ніж | % | 85 |
| Площа поверхні теплообміну в котлі | м2 | 1.3 |
|
Параметри топки |
||
|
Глибина |
мм |
305 |
|
Ширина |
мм |
260 |
|
Об'єм |
дм3 |
30 |
|
Об'єм води в котлі |
л | 42 |
|
Маса котла без води |
кг |
130 |
|
Необхідна тяга димових газів |
Па |
23-35 |
|
Температура топкових газів на виході з котла |
°C
|
100-180 |
|
Рекомендована мінімальна температура води |
°C |
58 |
|
Максимальна температура води |
°C |
90 |
|
Номінальне (максимальне робоче) тиск води, не більше |
МПа | 0.15 |
|
Випробувальний тиск води, не більш ніж |
МПа | 0.3 |
|
Споживання електроенергії (230 В, 50 Гц), не більш ніж |
Вт | 85 |
|
Рекомендовані параметри димоходу |
||
|
Площа зрізу |
см2 | 154 |
|
Внутрішній діаметр |
мм | 140 |
|
Висота (мінімальна) |
м | 6 |
|
Розмір завантажувальних дверей |
||
|
Висота |
мм | 155 |
|
Ширина |
мм | 220 |
|
Діаметр патрубків прямий і зворотний мережевий води (Ду) |
мм | 40 |
|
Діаметр патрубка під запобіжний клапан (Ду) |
мм | 15 |
|
З'єднувальний зовнішній діаметр димоходу |
мм | 138 |
|
Габаритні розміри котла KRAFT E |
||
|
B |
мм |
500 |
|
B1 |
мм | 440 |
|
H |
мм |
1040 |
|
H1 |
мм | 855 |
|
H2 |
мм |
154 |
|
L |
мм | 740 |
|
L1 |
мм | 660 |
|
L2 |
мм | 510 |

Доставка котлів тривалого горіння KRAFT (Крафт) Е 12 кВт по всієї Українці: Чорновці, Тернополь, Рівно, Харків, Житомир, Одеса, Запоріжжя, Вінниця, Львів, Луганськ, Донецьк, Житомир, Одеса, Херсон, Сумми, Кіровоград, Чернігов, Полтава, Миколаїв, Хмельницький, Київ, Івано-Франків, Днепрозор, Черкаси тощо.
| Основні | |
|---|---|
| Виробник | Kraft |
| Країна виробник | Україна |
| Потужність номінальна | 12 кВт |
| Вид пального | Тверде |
| Види твердого палива | Антрацит, Дрова, Кам'яне вугілля, Брикети |
| Матеріал теплообмінника | Сталь |
- Ціна: 24 900 ₴








